Đèn thắp sáng nhờ đất trồng và thực vật
Cảm biến phát hiện sớm nguy cơ cháy do rò rỉ điện
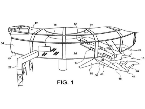
Airbus đăng ký bằng sáng chế máy bay chở khách như xe container
Tạo ra hoa hồng tích hợp mạch điện tử
Tạo ra được graphene giá rẻ hơn gấp 100 lần
Nuôi ấu trùng bọ cánh cứng tại nhà làm thức ăn
Tàu ngầm nano đơn phân tử chạy bằng tia UV
Robot chèo thuyền xử lý nước ô nhiễm
Dùng sóng xung kích tách muối ra khỏi nước biển
Biến kính thông thường thành kính thông minh
Kỹ thuật in 3D có thể giúp người khiếm thị tiếp cận nghệ thuật
Kích thích cà chua tăng trưởng bằng hạt nano
Tạo ra vải thông minh điều khiển nhiệt độ theo ý muốn
Sinh viên phát triển hệ thống bảo vệ gầm xe
Mỹ phát triển công nghệ nhìn xuyên tường
Tạo ra thủy tinh cứng như thép
Nhiệt kế thông minh theo dõi dịch cúm
Áo cảm biến nhiệt hoạt động nhờ vi khuẩn
Anh thử nghiệm bê tông tự vá lành ổ gà
Phát hiện cách tăng tốc độ chụp ảnh gấp nhiều lần
Đèn pin nhưng không dùng pin
Công nghệ làm dấu vân tay phát sáng
Trước
1
[2]
3
4
5
6
7
8
9
10
Tiếp